冷凝器的种类和工作原理,你知道吗?
2023-05-05 18:11:23
冷凝器是制冷装置的主要热交换设备之一。它的任务是将压缩机排出的高压过热制冷剂蒸气,通过其向环境介质放出热量而被冷却、冷凝成为饱和液体,甚至过冷液体。
按照冷凝器使用冷却介质和冷却方式的不同,有水冷式、空气冷却式和水-空气冷却三种。
冷凝器按冷却方式:
空气冷却式、水冷式、蒸发冷却式(水-空气冷却)
空气冷却式冷凝器中根据管外空气流动方式:
自然对流空气冷却式冷凝器、强制对流空气冷却式冷凝器
一、水冷式冷凝器
这种型式的冷凝器用水作为冷却介质,带走制冷剂冷凝时放出的热量。冷却水可以一次性使用,也可以循环使用。
用循环水时,必须配有冷却塔或冷水池,保证水不断得到冷却。根据其结构不同,主要有壳管式和套管式以及现在多用的板式换热器。
卧式壳管式冷凝器
1. 壳管式冷凝器:
制冷装置中使用的制冷剂不同,其结构特点也有所不同。一般立式壳管式冷凝器适用于大型氨制冷装置,而卧式壳管式冷凝器则普遍使用大、中型氨或氟利昂制冷装置中。管板与传热管的固定方式一般采用胀接法,以便于修理和更换传热管。
2. 卧式壳管式冷凝器特点:
传热系数高,冷却水用量少,操作管理方便;但是对冷却水水质 要求高。目前大、中型制冷装置普遍采用这种装置。
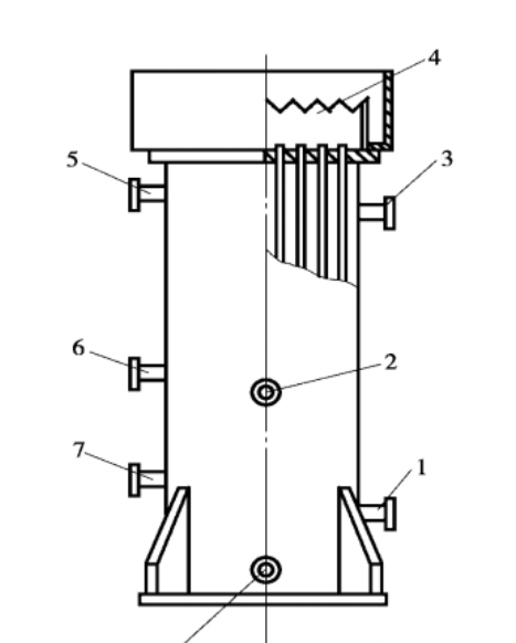
立式管壳式冷凝器
1—出液管;2—压力表接头;3—进气管;4—配水箱;5—安全阀接头;6—均压管;7—放空管;8—放油管
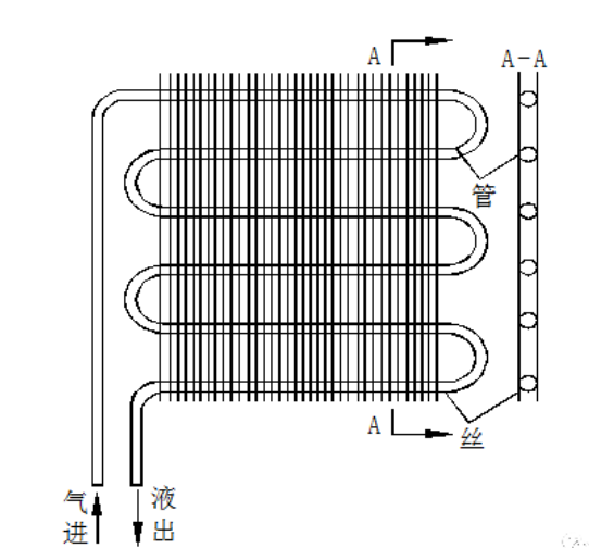
3. 套管式冷凝器:
它是由不同直径的管子套在一起,并弯制成螺旋形或蛇形的一种水冷式冷凝器。如图所示,制冷剂蒸气在套管间冷凝,冷凝液从下面引出,冷却水在直径较小的管道内自下而上流动,与制冷剂成逆流式,因此传热效果较好。
套管式冷凝器
4. 板式冷凝器:
板式冷凝器是由一组不锈钢波纹板串接而成,在传热板两侧形成冷、热流体通道,在流动过程中通过板壁进行换热。
换热版厚度约为0.5mm左右,板间距一般为2-5mm。
板式换热器体积小,重量轻,传热效率高,所需制冷剂充注量少,可靠性高近年来得到广泛应用。但其内容积小,冷凝后的液态制冷剂应及时排除,对冷却水质要求高,难以清洗,内部渗漏不易修复。
冷却水上进下出,制冷剂蒸气从上面进入,液态制冷剂从下面流出。
二、空气冷却式冷凝器
这种冷凝器以空气为冷却介质,制冷剂在管内冷凝,空气在管外流动,吸收管内制冷剂蒸气放出的热量。由于空气的换热系数较小,管外(空气侧)常常要设置肋片,以强化管外换热。分为空气自由流动和空气强制流动两种型式。
1. 空气自由流动的空冷冷凝器:
该冷凝器利用空气在管外流动时吸收制冷剂排放的热量后,密度发生变化引起空气的自由流动而不断地带走制冷剂蒸气的凝结热。它不需要风机,没有噪声,多用于小型制冷装置。如下图所示:
空气强制流动的空冷冷凝器:如下图所示,它由一组或几组带有肋片的蛇管组成。制冷剂蒸气从上部集管进入蛇管,其管外肋片用以强化空气侧换热,补偿空气表面传热系数过低的缺陷。
在结构方面,沿空气流动方向的管排数愈多,则后面排管的传热量愈小,使换热能力不能得到充分利用。为提高换热面积的利用率,管排数以取4-6排为好。
2. 空气冷却式冷凝器与水冷式冷凝器比较:
(1)在冷却水充足的地方水冷式设备的初投资和运行费用均低于风冷式;
(2)由于夏季室外空气温度较高,冷凝温度一般可达50℃,为了获得同样的制冷量,风冷式设备制冷压缩机的容量约需增大15%;
(3)采用风冷式冷凝器的制冷设备系统组成简单,可缓解水源紧张;
三、蒸发式冷凝器
1. 蒸发式冷凝器:
以水和空气作为冷却介质。它利用水蒸发时吸收热量使管内制冷剂蒸气凝结。水经水泵提升再由喷嘴喷淋到传热管的外表面,形成水膜一部分吸热蒸发变成水蒸汽,然后被进入冷凝器的空气带走。
未被蒸发的水滴则落到下部的水池内。箱体上方设有挡水栅。用于阻挡空气中的水滴散失。蒸发式冷凝器结构原理如图所示。
2. 蒸发式冷凝器特点:
(1)利用水汽化带走冷凝热,其所消耗的冷却水量只是补给的散失水量,冷却水耗量少;
(2)蒸发式冷凝器进口空气湿球温度对换热量影响很大。同样的冷凝温度和风量,进口湿球温度越小,冷却水蒸发量越大,冷凝效果越好;
(3)蒸发式冷凝器耗水量小,所需空气量不足风冷式1/2,因此特别适合于干燥缺水地区;
综上所述,为了提高阀的使用寿命、稳定性、正常调节等工作性,调节阀应避免在小开度工作,通常应大于10%~15%。但对高压阀、双座阀、蝶阀、处于流闭状态的调节阀来说,应大于20%(线性阀)~30%(对数阀)。
2、当阀选大了或工艺条件变化时,调节阀经常在小开度下工作,此时如何加以解决?
①降低阀上压差ΔP。由方程式Q=C√ΔP/P可知,当ΔP减小时,Q也减小,为了保持通过调节阀的流量不变,就要增大阀的开度,这样可避免阀在小开度下工作。具体方法如下:
a、在阀后加限流孔板消耗一部分压降;
b、关闭管路上串联的手动阀,至调节阀获得较大理想的工作开度为止。
这两种办法都是增大管路上的压降,以减小阀上压降,因为系统总压降ΔP系统=阀上压降ΔP阀+管路压降ΔP管路。由于ΔP系统不变,当ΔP管路增大时,ΔP阀必然减小。
②缩小口径由Q=C√ΔP/P可知,C值减小,Q也减小,为保持通过阀的流量不变,就必然要加大开度,这样也可避免阀在小开度工作。C值与阀的口径DN、阀座直径dN有关。减小C值的办法是:
a、换一台小档口径的阀,如将DN32换成DN25;
b、阀体不变,换小档DN的阀芯阀座,如将DN10换成DN8。
当调节阀处于小开度工作时,可能会出现以下问题:
1. 易受堵塞: 在小开度下,流体流速较慢,容易使流体中的颗粒沉积在调节阀的流道中,导致阀门堵塞或卡死。
2. 流量控制不稳定: 在小开度情况下,调节阀的流量控制可能变得不够稳定,容易受到外部干扰或内部因素的影响,导致流量波动或不准确。
3. 闪蒸和振荡: 当流体在小开度情况下通过调节阀时,可能会出现闪蒸现象,从而导致流体压力和温度剧烈变化,还可能引起阀门振荡。
对策包括:
1. 选择合适的阀门类型: 对于需要在小开度下工作的情况,可以选择一些专门设计用于小流量的调节阀,如微调节阀,以减少堵塞的可能性。
2. 增加过滤器和网孔: 可以安装过滤器或者网孔,来防止颗粒物进入调节阀的流道,减少堵塞的风险。
3. 优化阀门的设计和材料: 设计合理、材料耐腐蚀的阀门结构,可以降低对于颗粒物堵塞的敏感度。
4. 增加阀门的承受范围: 结合调节阀和控制系统,可以增加阀门的承受范围,从而提高在小开度下的控制精度和稳定性。
5. 增强检修和维护: 定期检查并维护调节阀,及时清理管道和过滤器,可以减少堵塞的风险。
通过合理选择阀门类型,采取有效的防堵措施以及加强对调节阀的维护和保养,可以有效地解决调节阀在小开度工作时可能出现的问题。
免责声明:文章版权归原作者所有。如涉及作品内容、版权和其它问题,请跟我们联系删除!
2024 07-16
为什么调节阀不能在小开度下工作?
[list:subtitle]
1、为什么调节阀不能在小开度下工作?调节阀在小开度工作时存在着急剧的流阻、流速、压力等变化,会带来如下问题:①节流间隙最小,流速最大,冲刷最厉害,严重影响阀的使用寿命;②急剧的流速、压力变化,超过阀的刚度时,阀稳定性,甚至产生严重振荡;③对于流闭状态下工作的阀,会产生跳跃关闭或跳跃启动现象,调节型阀在
2024 07-08
PCW-工艺冷却水系统
[list:subtitle]
PCW(Process Cooling Water),工艺冷却水系统或制程冷却水系统。工作原理及用途(1)用途:用于冷却工艺设备,带走其产生的热量。(2)系统中冷冻水和冷却水是两个相对独立的系统,冷冻水由冷冻机提供,冷却水与冷冻水进行热交换,从而降低冷却水温度。工艺冷却水系统模式的选择工艺冷却水系统的
2024 07-01
蒸发温度与蒸发压力、冷凝温度与冷凝压力、过冷度与过热度,这次懂了吗?
[list:subtitle]
1、概念:蒸发温度就是制冷剂从液体变为气体的临界温度,在制冷系统中,指的是制冷剂液体在蒸发器中从液体变为气体的饱和温度,一般制冷系统中的蒸发温度是测不出来的,只能用对应的蒸发压力来推导。2、蒸发温度与蒸发压力关系:蒸发压力(低压)越低,蒸发温度也就越低;蒸发压力(低压)越高,蒸发温度也就越高。可
2024 06-24
带你了解吸附式干燥机
[list:subtitle]
一、定义:吸附式干燥机是一种常用于去除空气中湿气的设备,吸附式干燥机是利用吸附剂(活性氧化铝、硅胶、分子筛)吸附水分的特性来降低压缩空气中水分的含量,吸附式干燥机用于压力露点要求在零度(0℃)以下的场合。它能达到冷冻式干燥机远远不能达到的干燥效果。二、工作原理:其工作原理基于吸附剂的吸湿和再生过程。下面
2024 06-05
锂离子电池制片过程掉粉的分析与讨论
[list:subtitle]
极片掉粉目前钴酸锂的生产工艺,基本上不会掉粉,掉粉的可能性在生产过程中影响的因素有:1、配方比例不当,如粘接剂太少,容剂少致使搅拌不均匀。2、粘接剂烘烤温度过高,使粘接剂结构受到破坏,。3、浆料搅拌时间不够,没有完全搅拌开,4、涂布时温度太低,极片未烘干。5、涂布量不均匀,厚度差异太大。6、极片在辊
2024 05-27
冷凝温度、蒸发温度与吸气过热度:影响制冷效果的重要因素
[list:subtitle]
1、过热度过热度定义为低压侧制冷剂蒸汽与感温包内蒸汽间的温差。测量方法包括在尽量接近感温包位置测量蒸发压力并转换为温度值,然后用感温包实际检测到的温度减去该转换温度,理想的过热度一般维持在5至8摄氏度。2、过冷度过冷度则是冷凝过程中的一个重要概念,它表示的是冷凝器中冷凝压力对应的饱和液体温度与冷凝器出口
2024 05-20
什么是冷却塔免费供冷?空调免费冷系统如何设计选择?一次讲清楚
[list:subtitle]
什么是冷却塔免费冷系统冷却塔免费供冷就是在常规水冷空调系统中通过增加旁通管路、板式换热器等设备,在室外湿球温度低于某个值以下时,关闭制冷主机,利用流经冷却塔的冷却水直接或通过板式换热器间接向空调末端供冷,承担建筑所需的冷负荷。 冷却塔免费供冷能够利用自然冷源,满
2024 05-13
转轮热回收和除湿应用
[list:subtitle]
2024 05-04
工艺冷却水系统(PCW)介绍
[list:subtitle]
1序言冷却水系统的应用非常广泛,涉及各类工业生产活动,包括半导体、微电子、火电厂中汽轮机排气冷凝、大型中央空调、煤化工、石化厂、天然气管道降温等。工艺冷却水系统主要用于泛半导体、微电子等行业中关键制程设备的间接冷却。分为开式系统和闭式系统。本篇就工艺冷却水系统构成及部件作用、工作原理及用途、系统控制及
2023 03-27
空调箱,你了解吗?
[list:subtitle]
空调箱也称组合式空调机组,是一种专门用于处理空气的设备,有对空气的降温冷却、去湿干燥、加热加湿、过滤净化、送风回风及引入新风等功能。主要用于工业、医药卫生、大、中型建筑物,如宾馆饭店、豪华商业设施、体育娱乐中心等场所。 空调箱分类:按结构形式分类:a)卧式;b
2023 03-07
你了解冷却塔吗?
[list:subtitle]
冷却塔是利用空气同水的接触(直接或间接)来冷却水的设备。
2023 03-07
这,就是离心式压缩机!
[list:subtitle]
作为制冷人,对于离心式压缩机我们并不陌生。但关于离心式压缩机的全方位知识,我们真的都了解吗?不一定。今天我们就来一起重新认识一下离心式压缩机!